1. Транспортировка и хранение
1.1. Кварцевый паркет может транспортироваться всеми видами транспорта в соответствии с правилами перевозки грузов для каждого из них
1.2. До момента укладки кварцевый паркет необходимо хранить в сухих, чистых, закрытых помещениях при температуре воздуха не ниже 5°С и относительной влажности воздуха не более 70%. Кварцевый паркет должен храниться в горизонтальном положении на ровной поверхности, необходимо сохранять целостность упаковки и избегать контакта с водой.
2.1. В качестве основания для укладки кварцевого паркета могут использоваться:
- Цементно-песчаная (цементная) стяжка
- Различные смеси, разработанные для выравнивания полов
- Фанера повышенной влагостойкости
- Насыпные сухие основания
- Существующие покрытия, соответствующие требованиям к основанию (п.2.2-2.4)
2.2. Производство и приемка работ конструктивных и функциональных элементов пола в производственных, жилых, общественных, административных и бытовых зданиях должны быть выполнены в соответствии с требованиями СП 71.13330.2017.
2.3. Основание для укладки кварцевого паркета должно быть подготовлено. Основание должно быть ровным, прочным, стабильным, сухим (влажность не более 4%) и чистым.

2.4. С поверхности основания должны быть удалены остатки песка, пыли, жира, краски и других веществ. Неровности основания, превышающие 2 мм на 2 м длины укладки, должны быть устранены до начала монтажа кварцевого паркета (рис. 1).
2.5. В помещениях с кварцевым паркетом поддерживайте температуру воздуха от +18 до +28°С и относительную влажность воздуха 35-60%. При подготовке основания следуйте требованиям строительных норм и правил.
2.6. Наличие горизонтальной разводки отопления и горячего водоснабжения в основании пола приравнивается к наличию теплого пола.
2.7. Ковры и мебель с ножками высотой менее 5 см могут существенно повысить температуру поверхности пола: их запрещено использовать с некоторыми системами теплого пола.

2.8. Рекомендуется укладывать кварцевый паркет вдоль направления света, падающего из окна (рис. 2).
3.1. Изучите информацию ниже и выберите способ монтажа: плавающий (на подложку) или клеевой.
3.1.1. Плавающий способ укладки
Пол не должен упираться ни в какие препятствия — для этого необходимо предусмотреть деформационные зазоры в местах стыка напольного покрытия и стен или других напольных покрытий, а также в местах стыка со всеми выступающими из основания пола конструкциями и элементами: трубами, дверными и оконными рамами, лестницами, колоннами, перегородками, порогами, любыми крепежными элементами и недвижимыми элементами мебельных конструкций (кухонь и кухонных островов, встроенной мебели, требующей крепления к полу, и т.п. (см. подробную информацию в разделе 6 «Основные технические требования»).
Присверливание мебели или каких-либо предметов к напольному покрытию в данном случае запрещено.
При плавающем методе укладки используйте подложку (плотную листовую или рулонную экструдированную подложку для SPC-покрытий толщиной 1,5 мм с плотностью от 60 кг/м3) и накладные пороги для закрытия деформационных зазоров.
Площадь максимально возможной беспороговой укладки плавающим способом составляет 144 м2 при условии, что максимальная длина и ширина беспрерывного ряда не превышает 12 м.

Максимальная температура нагрева поверхности основания не должна превышать +28°С (рис. 3).
3.1.2. Клеевой способ укладки
Выбирайте клеевой способ монтажа в случаях, когда на кварцевом паркете будут расположены недвижимые элементы мебельных конструкций, кухонь и кухонных островов, встроенной мебели, требующей крепления к полу, и т.п. Примените клеевой способ укладки на всю площадь или до ближайшего деформационного зазора.
Клей наносится шпателем B1 или B2 только на основание и на ту площадь, на которую возможно приклеить покрытие за один проход. Исходите из скорости укладки и ориентируйтесь на время работы клея.
Важно следовать инструкциям Производителя клея.
При использовании двухкомпонентного клея Home Expert 5000 PROF 2К PU или Home Expert MS SPC 2000 PROF:- max t° нагрева теплого пола составляет +50°C;
- действие исключительной пожизненной гарантии сохраняется;
- допустимо оставлять деформационные зазоры 3 мм;
- разрешается заполнение деформационных зазоров силиконом или пробковым компенсатором;
- максимально допустимая площадь монтажа возможна свыше 144 м2 после получения гарантийного письма от Производителя.
При использовании клеёв других производителей: - max t° нагрева теплого пола +28°C;
- исключительная пожизненная гарантия в данном случае не применяется;
- необходимо оставлять деформационные зазоры 10 мм;
- заполнение деформационных зазоров силиконом или пробковым компенсатором запрещено;
- максимальная площадь монтажа 144 м2

4.1. Внимательно ознакомьтесь с инструкцией по сборке кварцпаркета.

4.2. Необходимые инструменты: линейка, карандаш, разметочный инструмент, отрезной инструмент с мелким зубом, угольник, распорные клинья, нож, скотч, резиновая киянка, подбойник.

4.3. Перед укладкой необходимо обеспечить хранение материала в горизонтальном положении в течение 48 часов при температуре воздуха не менее +18°C. Упаковка (плёнка) вскрывается непосредственно перед укладкой.

4.4. Проверьте материал на наличие дефектов: поврежденные плашки нельзя использовать при укладке. После выполнения монтажа претензии к внешнему виду кварцевого паркета не принимаются.
4.5. Перед укладкой вскройте несколько упаковок, разложите плашки по тону. Старайтесь укладывать кварцпаркет таким образом, чтобы близкие по тону плашки не следовали друг за другом.

5.1. Кварцевый паркет пригоден для влажной уборки, в том числе для уборки роботом-пылесосом. Рекомендуется регулярный уход с помощью средств для напольных покрытий с PU-лаком.

5.2. Для продления срока службы покрытия необходимо использовать защитные (войлочные, силиконовые) накладки на ножках мебели, специальные коврики под мебель с ножками-роликами, а также предусмотреть у входа систему очистки обуви с паропропускающими ковриками и не допускать длительного скопления влаги или жидкости без возможности ее испарения.
5.3. Длительное воздействие солнечных лучей на кварцпаркет может вызвать перегрев, поэтому рекомендуется использовать шторы или жалюзи.
5.4. Обращаем ваше внимание на то, что верхний слой кварцевого паркета состоит из натурального дерева и требует бережного отношения и деликатного ухода. Воздействие средств с агрессивной средой(использование химических растворителей, красителей и т.п.) может привести к порче верхнего слоя кварцпаркета.
5.5. При передвижении тяжелых предметов по кварцевому паркету во избежание его деформации необходимо применять прочный и мягкий подстилочный материал. Защитный слой защищает кварцевый паркет от истирания при эксплуатации, но любой предмет, твердость которого выше твердости защитного слоя, может поцарапать покрытие. Наличие царапин при эксплуатации не является браком, так как кварцевый паркет сохраняет все свои износостойкие характеристики до полного протирания до основания SPC.
6. Основные технические требования
Размеры деформационных зазоров — 10 мм.
6.1. Основные монтажные деформационные зазоры необходимо предусмотреть в местах стыка края покрытия и стен, а также в местах стыка с другими напольными покрытиями и всеми выступающими из основания пола конструкциями и элементами (трубами, дверными и оконными рамами, лестницами, колоннами, перегородками, порогами, любыми крепежными элементами и недвижимыми элементами мебельных конструкций, кухонь и кухонных островов, встроенной мебели и т.п.).

6.2. Дополнительные монтажныедеформационные зазоры необходимо предусмотреть в местах превышения максимальной длины (12 м) и/или ширины (12 м) непрерывного ряда и/или площади помещения 144 м².

6.3. При отсутствии разрывов кварцевого паркета в дверных проемах общая длина или ширина — это сумма длины и ширины общей площади укладки.
6.4. Деформационные зазоры логичнее и проще всего делать в проемах дверей. После укладки кварцевого паркета деформационные зазоры закрываются накладным порогом. Свободный ход покрытия под порогом должен быть не меньше 10 мм.

6.5. Плинтус крепится к стене. Крепление плинтуса к полу запрещено.
6.6. При монтаже конструкций дверей, окон, перегородок и т.п. поверх уложенного кварцпаркета необходимо обеспечить подвижность напольного покрытия и предусмотреть вертикальные зазоры между ними и поверхностью пола не менее 2-3 мм.
- прикреплять (приклеивать, присверливать, прибивать) части площади кварцевого паркета, уложенной плавающим способом;
- крепление любых конструкций (унитазов, биде, встроенной мебели, дверных ограничителей и т.п.) без соблюдения зазоров вокруг оси крепежного элемента.

7.1. Подложка укладывается встык и закрепляется при помощи клейкой ленты по всей длине стыка (рис. 13).
7.2. Не используйте подложку толщиной более 1,5 мм и не укладывайте подложку более чем в 1 слой.
8.1. Выберите стену, от которой вы начнете монтаж. Перед укладкой измерьте ширину помещения, чтобы рассчитать, сколько рядов кварцевого паркета потребуется.
8.2. Если ширина последнего ряда меньше 50 мм, необходимо подрезать плашки первого ряда, чтобы сместить все напольное покрытие в центр.
9. Формирование 1-го ряда

9.1. Укладывайте плашки с учетом зазоров 10 мм (рис. 14) от всех стен и иных неподвижных сквозных конструкций (труб, дверных ограничителей, внутрипольных конвекторов и др.). Для расширения используйте монтажные (распорные) клинья.

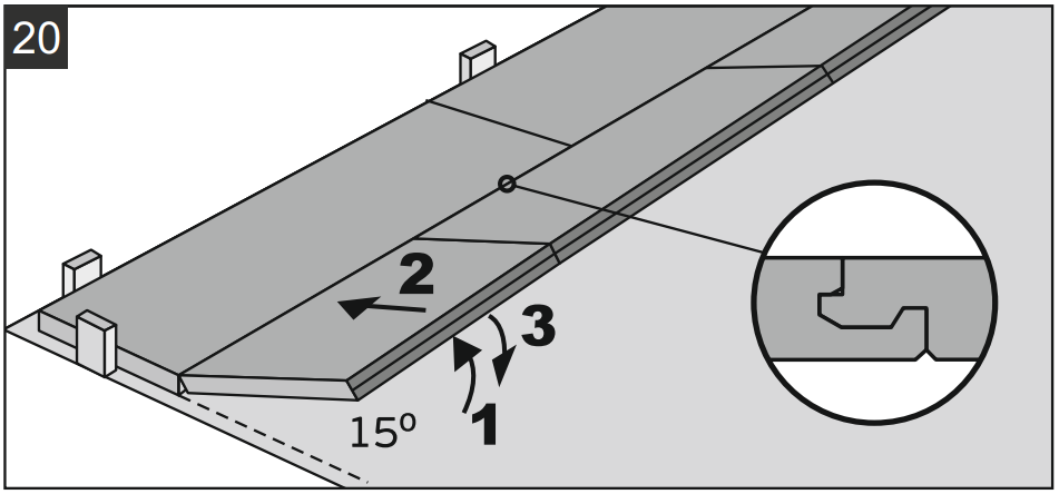
9.2. Плашки соединяются по торцевым замкам под углом 15 градусов. При формировании поперечного шва отдельные плашки в ряду не должны смещаться в сторону. Замки должны быть без повреждений и без мусора.
10. Формирование 2-го ряда
Технология сборки «Конструктор»

10.1. Плашки следующего ряда соединяются сначала по короткой стороне. После этого их нужно соединять по длинной стороне с предыдущим рядом.

10.2. Рекомендуемое смещение плашек относительно соседних рядов — на 1/2 - 1/3 плашки.

10.3. Плашки соединяются между собой короткими сторонами.

10.4. Только после полного формирования второго ряда можно приступать к его соединению с первым.

10.5. Второй ряд кварцевого паркета вставляется под углом в замок первого ряда по всей длине и защёлкивается.

10.6. При смещении на 1/2 - 1/3 плашки относительно соседних рядов (рис. 17) начинайте каждый последующий ряд с части плашки, оставшейся от предыдущего ряда.

10.7. Возможно, придётся обрезать последний ряд - для более качественной укладки измеряйте ширину элемента с двух сторон, учитывая деформационный зазор 10 мм.

10.8. Иногда при монтаже пола возникает ситуация невозможности установки плашки из-за помехи.

10.9. В этом случае необходимо убрать часть замка и нанести клей, как показано на рис. 24. Нанесите клей на выступ замка.

10.10. Сдвиньте плашки кварцевого паркета под выступающую помеху и, плотно прижав, соедините с плашками предыдущего ряда.
- следите, чтобы все распорные клинья оставались на своих местах (по окончании монтажа очистите деформационные зазоры);
- все замки должны быть защелкнуты до конца, не оставляйте зазоры между плашками (при необходимости используйте киянку и подбойник);
- следуйте прямой линии установки;
- соблюдайте монтажные деформационные зазоры не менее 10 мм от края покрытия до стен, другого напольного покрытия и всех выдающихся над поверхностью пола элементов (труб, лестниц, колонн, перегородок, порогов и т.п.).
11. Укладка клеевым способом
11.1. Основные этапы монтажа идентичны этапам укладки плавающим способом (начиная с раздела 8 «Разметочные работы»).
11.2. При любом способе укладки запрещено ходить по свежеуложенному покрытию в течение 2 часов. Мебель в помещении можно расставлять не менее чем через 48 часов после окончания работ.